新-学生工作处
 首页 | 机构介绍 | 公告通知 | 学工动态 | 学生奖助 | 心理健康 | 规章制度 
站内搜索:
  安全教育  
 
 工作职责 
 公告通知 
 奖助学金 
 
  公告通知    

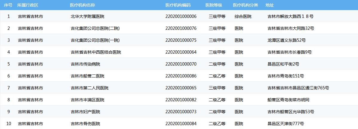
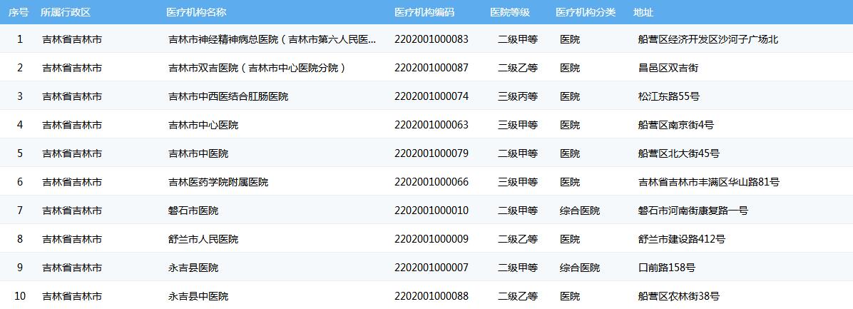
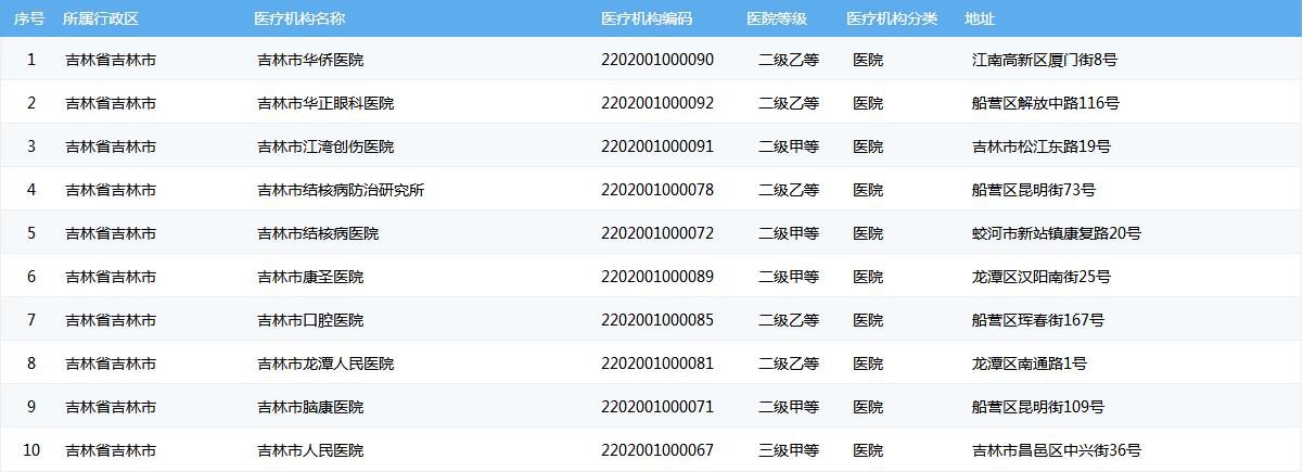
吉林市医保定点医院

2021年06月07日 12:14  点击:[]

吉林市医保定点医院

全国各省定点医院查询网址:http://si.12333.gov.cn/index.jhtml

 

关闭

 首页 | 机构介绍 | 公告通知 | 学工动态 | 学生奖助 | 心理健康 | 规章制度 
吉林铁道职业技术大学 版权所有
管理员信箱:70737961@qq.com
地址:吉林永吉经济开发区吉桦东路1号
邮政编码:132299